Справочник яхтсмена.
Крейсерское плавание.
Швартовка к сваям и бону.
Источник: "Справочник яхтсмена".
Автор: Боб Бонд.
В некоторых гаванях установлены пары свай, используемые для стоянки яхты у бона. На
большинстве стационарных причалов имеются постоянные швартовные концы, прикрепленные к
сваям и бону для облегчения подходов и отходов.
При отсутствии постоянных швартовов надо завести свои концы и отдать их при отходе. Яхты
с мощными двигателями могут швартоваться кормой, но большинству парусных яхт с менее мощными
двигателями легче швартоваться носом.
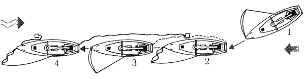
ОТХОД.
Выбранный вами метод отхода от причала между сваями будет зависеть от воздействия ветра на яхту. Если он направлен в нос или корму (допустим, яхта ошвартована носом), кормовые концы надо завести впереди вант "серьгой", а носовые концы отдать. Потянув за кормовые концы, яхту можно легко провести между сваями. Когда нос яхты пересекает условную линию, соединяющую сваи, концы отдают. При наличии постоянных швартовов на боне и сваях их просто отдают, когда это необходимо. При сильном боковом ветре (например, при швартовке носом) надо сначала потравить наветренные носовой и кормовой концы, давая возможность яхте немного сдрейфовать в подветренном направлении, пока она не достигнет подветренной сваи, и тогда отдать носовой и кормовой подветренные концы. Затем надо подтянуть яхту назад в наветренном направлении и завести дополнительный конец "серьгой" с наветренной сваи на носовую палубу. Теперь отдают наветренные носовой и кормовой концы (постоянные или заведенные вами), и яхта выходи! кормой вперед под двигателем. Если нос начинает сносить под ветер, надо выбрать "серьгу" так, чтобы повернуть нос яхты в наветренную сторону. Когда нос пройдет сваю, отдают "серьгу". Если яхта ошвартована кормой, можно также пользоваться предложенными выше инструкциями.
![]() |
![]() |
![]() |
![]() |
| Ветер в нос или в корму. | Боковой ветер. | ||
| 1. Заведите кормовые концы "серьгой" и отдайте носовые концы. | 2. Отходите кормой вперед. Когда она окажется на одном уровне со сваями, отдайте заложенные "серьгой" концы. | 1. Потравите наветренные носовой и кормовой концы перед тем как отдать подветренные концы. | 2. Заведите выхлестывающийся конец "серьгой" от носа к наветренной свае и отходите кормой вперед (задним ходом). |
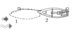
ПОДХОД.
![]() |
![]() |
| 1. Проведите кормовые концы снаружи вант и закрепите их на сваях. | 2. Подойдите под двигателем к причалу, потравив кормовые концы, закрепите носовые на боне. |
При подходе к причалу между сваями надо завести два носовых и два кормовых конца, проведя их вперед снаружи вант. При боковом ветре лучше держаться ближе к наветренной свае. Достигнув свай, команда крепит кормовые концы к швартовным рымам. Яхта продолжает идти к причалу под двигателем, матросы потравливают швартовные концы. Когда яхта подойдет к причалу, на берег подают два носовых конца и их длину регулируют так, чтобы держать яхту на некотором расстоянии от бона и между сваями. Постоянные швартовы заводят так же.
ШВАРТОВКА К СВАЯМ.
Во многих гаванях ряды свай - больших деревянных или металлических
столбов (палов), вбитых в дно - используют для обеспечения швартовки
носом или кормой к стенке канала. Они имеют специальное оборудование
для крепления концов с яхты. Очень часто несколько яхт становятся
в связке к одним и тем же сваям, хотя в большинстве гаваней ограничено
число яхт, ошвартованных к одной паре свай. Каждая яхта в связке
должна крепиться к сваям и к соседним яхтам так же, как при швартовке
связки у причала.
Если необходимо покинуть на какое-то время ошвартованную к сваям
яхту, ее следует поставить носом против отливного течения, которое
обычно сильнее, чем приливное. Однако в случае прогноза на усиление
ветра, лучше повернуть яхту носом против ожидаемого направления
ветра. При отходе или подходе к сваям команду следует тщательно
проинструктировать.
КРЕПЛЕНИЕ
К СВАЯМ.
Швартовные сваи оборудованы металлическим штырем, по которому перемещается большой металлический рым - к нему крепят швартовные концы. Когда яхта ошвартована, рым движется вверх и вниз соответственно во время прилива и отлива. Следовательно, вам не надо регулировать длину швартовных концов. Наиболее удобный узел для крепления швартовного конца к рыму - это штык со шлагом или рыбацкий штык.
ОТХОД ПОД ДВИГАТЕЛЕМ.
Процедура отхода от свай под двигателем зависит от того, стоите вы бортом к другой яхте, в середине связки или отдельно от других яхт, а также от направления и силы ветра и течения. Если яхта находится в середине связки, можно использовать методы отхода, описанные выше. Если яхта стоит с внешней стороны связки, можно отдать концы и отходить любым известным методом отхода от причала. Если ваша яхта одна ошвартована между сваями, то в зависимости от силы и направления ветра и течения и возможности управления вашей яхтой на заднем ходу надо воспользоваться одним из методов отхода, рассматриваемых ниже.
![]() |
Носом против более
сильного воздействия. Подтяните яхту вперед к передней свае, потравливая кормовой конец (1). Заведите носовой конец "серьгой" и дайте яхте отойти назад к кормовой свае (2). Отдайте кормовой конец и, выхлестнув носовой, отходите под двигателем (3). |
![]() |
Ветер по траверзу. Если яхта стоит носом против течения, заведите "серьгой" оба конца - носовой и кормовой (1) и дайте яхте сдрейфовать в подветренную сторону от свай, потравливая концы (2). Отойдя на чистую воду, выхлестнете оба конца и идите вперед (3). Если яхта стоит кормой против течения, отходите задним ходом. |
![]() |
Кормой против
более сильного воздействия. Если яхта хорошо управляема на заднем ходу, заведите оба конца "серьгой" (1) и отходите под двигателем кормой вперед (2). Если яхта на заднем ходу плохо управляема, разверните ее с помощью концов и отходите передним ходом. |
ПОДХОД ПОД ДВИГАТЕЛЕМ.
Один
из членов команды удерживает яхту у сваи, пока другой вяжет узел.
Планируя подход к сваям под двигателем и швартовку, надо учитывать влияние тех же факторов, что и в других подобных ситуациях. Капитан должен наметить курс в зависимости от направления и силы ветра и течения, особенностей управления яхтой. Как капитану, так и команде всегда полезно сделать пробную попытку. До начала действительного подхода носовые и кормовые концы, отпорный крюк и кранцы должны быть готовы. Лучше всего, если два члена команды будут крепить швартовы к сваям, так как одному человеку это может быть неудобно. Если у свай стоят другие яхты, подход должен быть таким же, как при швартовке бортом. При отсутствии яхт нужно воспользоваться одним из способов, описанных ниже. Если, ошвартовавшись, вы обнаружите, что яхта стоит носом по течению, вам следует развернуть ее с помощью концов.
![]() |
Направления ветра
и течения совпадают. Подойдите против ветра и течения скулой к передней свае и закрепите носовой конец (1). Потравите конец, чтобы яхта смогла отойти назад к кормовой свае и закрепите кормовой конец (2). Подведите яхту вперед, чтобы она встала на равном расстоянии от обеих свай, и отрегулируйте концы. Кормовой конец можно закрепить на свае, воспользовавшись тузиком. |
![]() |
Направления ветра
и течения противоположны. Подходите носом против более сильного воздействия внешних сил. Остановитесь сначала у кормовой сваи, закрепите кормовой конец и потравите его (1). Пройдите к передней свае и заложите носовой конец (2). Отойдите немного назад и отрегулируйте концы. Один из членов команды должен держать в руках кормовой конец во время всего маневра, чтобы он не намотался на винт. |
![]() |
Ветер по траверзу. Этот метод почти не отличается от описанного выше, за исключением того, что яхта подходит к кормовой свае с подветренной стороны (1). Закрепив кормовой конец, медленно идите под двигателем вперед, держа нос несколько к ветру, так чтобы яхта двигалась под углом к передней свае. Закрепите носовой конец (2) и расположите яхту посередине между сваями. |
ОТХОД ПОД ПАРУСАМИ.
Отход под парусами не представляет особых трудностей, но лучше не производить этот маневр в переполненной судами акватории. Швартовные сваи расположены обычно по краям каналов (где есть приливное течение), поэтому при отходе под парусами лучше направить нос яхты против течения, чтобы постоянно осуществлять контроль за скоростью и управлением. Для этого, возможно, придется сначала развернуть яхту между сваями с помощью концов. Если ваша яхта единственная, ошвартованная к сваям, то отходите, пользуясь одним из указанных здесь способов и учитывая направление ветра. Если яхта стоит с внешней стороны связки яхт, ошвартованных к сваям, перезаведите концы на сваи "серьгой" и отходите, пользуясь одним из методов отхода при стоянке бортом к причалу. Если же яхта находится в середине связки, то придется ждать, когда отойдут соседние с вами яхты.
![]() |
![]() |
| Отход против
ветра. Разверните яхту носом против течения. Заведите носовой и кормовой концы "серьгой". Поставьте грот (1). Выберете шкот и ложитесь на курс бейдевинд, оставляя переднюю сваю с наветра. Отдайте кормовой конец, когда яхта ляжет на курс, а затем носовой конец (2). Выйдя на свободную акваторию, поставьте стаксель. |
Отход при ветре
в корму. Разверните яхту носом против течения и подготовьте оба паруса к постановке. Заведите оба конца "серьгой" и поставьте стаксель (1). Выберете стаксель-шкот, отдайте швартовы и ложитесь на курс, оставляя переднюю сваю с подветренного борта (2). Выйдя на свободную акваторию, приведите яхту к ветру и поставьте грот. |
ПОДХОД ПОД ПАРУСАМИ.
Подход
острым курсом.
При подходе острыми курсами против течения или против сильного
ветра при слабом противоположном течении идите к передней свае
только под гротом в полный бейдевинд (1). Остановите яхту так,
чтобы свая оказалась с наветра в районе вант, и закрепите носовой
конец (2). Уберите грот, дайте яхте отойти назад к кормовой свае
и закрепите кормовой конец (3).
При подходе под парусами к швартовным сваям необходимо учитывать силу и направление ветра и течения. В отсутствие сильного ветра, противоположного течению, лучше всего подходить носом против течения. В противном случае следует подходить носом против ветра. В зависимости от направления ветра при подходе - в нос или в корму от траверза - решают, какой использовать парус - грот или стаксель. Яхта при подходе к сваям должна идти медленно, и скорость регулируют шкотами. Сначала яхту крепят к наветренной свае, останавливая ее так, чтобы свая была в районе вант. Затем отходят к подветренной свае и закрепляют кормовой конец. Очень важно уметь быстро закрепить концы, а если матрос не может завязать узел достаточно быстро, лучше сначала временно завести концы "серьгой", а позже закрепить их узлами.
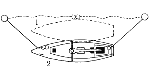
НОСОВОЙ И КОРМОВОЙ БУИ.
В некоторых гаванях устанавливают носовые и кормовые швартовные буи. Они обычно расположены цепочкой. Яхту к буям крепят с носа и кормы так, чтобы предотвратить ее разворачивание под воздействием ветра или течения. Методы подхода и отхода аналогичны рассмотренным для случая швартовных свай. Прежде чем ловить носовой и кормовой швартовные буи, надо убедиться, что их размер соответствует вашей яхте.
![]() |
![]() |
| Вспомогательные
буйки. Иногда наряду с основными буями устанавливают меньшие по размерам вспомогательные буйки, прикрепленные к основным буям канатом или цепью. Их легко вылавливать и закреплять на борту во время швартовки. Подойдя к такой стоянке, выловите оба буйка вместе (1), поднимите их на борт и заложите их буйрепы как носовой и кормовой концы (2). При отходе яхты оба вспомогательных буйка часто оставляют связанными посередине стояночного места. |
|

Подход при ветре в корму.
Когда сравнительно сильное течение противостоит слабому ветру,
подходите к сваям носом Против течения под одним стакселем (1).
Остановитесь около нее, дав парусу заполоскать. Когда свая окажется
около вант, закрепите кормовой конец (2). Затем выберете парус
и подходите к передней свае, потравливая одновременно кормовой
конец (3). Остановите яхту против передней сваи и закрепите носовой
конец (4). Уберите стаксель и отрегулируйте концы так, чтобы яхта
находилась посередине между сваями.


















